TIM HUB Ultra Guida Rapida (XGB834v)
CONTENUTO DELLA CONFEZIONE
• Modem
• Cavo Ethernet
• Cavo in Fibra
• Alimentatore
• Guida Rapida
• Garanzia di conformità
• Normative ed avvisi ambientali e di sicurezza
Per la Dichiarazione Ambientale vai su https://www.gruppotim.it/it/sostenibilita/ambiente/elenco-prodotti.html alla sezione i Prodotti TlM Green
CONTENUTO DELLA CONFEZIONE
• Modem
• Cavo Ethernet
• Cavo in Fibra
• Alimentatore
• Guida Rapida
• Garanzia di conformità
• Normative ed avvisi ambientali e di sicurezza
Per la Dichiarazione Ambientale vai su https://www.gruppotim.it/it/sostenibilita/ambiente/elenco-prodotti.html alla sezione i Prodotti TlM Green
INFORMAZIONI PRELIMINARI
• Colloca il tuo nuovo TIM HUB Ultra in un ambiente libero da ostacoli per ottimizzare le prestazioni Wi-Fi e posizionalo vicino alla presa ottica.
• Scollega eventuali altri modem, dalla presa ottica a cui colleghi il modem ed utilizza esclusivamente cavi forniti in questa confezione.
• Con il collegamento FIBRA attivo funzioneranno SOLO i telefoni coIIegati direttamente al modem.
• Mantieni il tuo nuovo modem sempre acceso e collegato per utilizzare i servizi Internet, Voce ed i servizi TIM.
• Ricorda che qualora fosse necessario o si volesse modificare/ripristinare oppure ottimizzare l'impianto telefonico puoi rivolgerti al 187 (Clienti Residenziali) o al 191 (Clienti Business).
INSTALLA E ACCENDI TIM HUB Ultra
1. Inserisci la spina dell’alimentatore nella presa elettrica.
2. Collega le estremità del cavo fibra ottica, in dotazione nella scatola, al connettore posto di lato al modem e alla porta di connessione fibra a parete.

3. Premi il tasto di accensione/spegnimento posto sul retro del modem. Attendi che i led Power e Linea siano verde fisso ed il led Web sia verde lampeggiante.

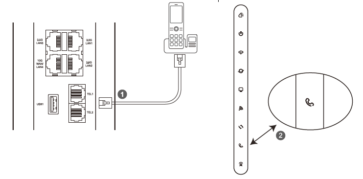
COLLEGA I TELEFONI AL TIM HUB Ultra
1. È possibile collegare tramite cavo telefonico fino a due telefoni fissi o cordless direttamente alle porte di colore nero poste sul retro del modem. Se è attiva una seconda linea, il telefono della linea principale va collegato alla Tel1, il telefono della linea secondaria alla Tel2 .
2. Verifica che il LED Voce sia verde fisso (lampeggiante velocemente se in conversazione).

COSA FARE SE
1. Il LED Power non si accende:
• Verifica di aver correttamente svolto i punti di pagina 2 e 3.
2. Il LED Power e il LED Linea non lampeggiano oppure non diventano verde fisso e il LED Web non diventa verde fisso o lampeggiante:
• Verifica di aver effettuato correttamente tutti i collegamenti descritti precedentemente.
• Se ancora non funziona, prova a collegare il modem ad un’altra presa telefonica.
3. Non riesci ad effettuare chiamate:
• Verifica il corretto collegamento dei telefoni al modem.
• Verifica che il LED Voce sia acceso di colore verde (fisso o lampeggiante), in caso contrario chiama il 187 (Clienti Residenziali) o il 191 (Clienti Business).
4. Vuoi collegare telefoni alle vecchie prese telefoniche:
• L’attività richiede l’intervento di un tecnico specializzato e quindi chiama il 187 (Clienti Residenziali) o il 191 (Clienti Business).
COLLEGA I DISPOSITIVI AL TIMHUB Ultra

Collegamento con Cavo Ethernet
Inserisci una estremità del cavo Ethernet in dotazione (cavo giallo) nel tuo dispositivo, l’altra estremità in una qualsiasi delle porte di colore giallo del modem.
È possibile trasformare la 1° porta ETH come WAN/LAN se necessario, accedendo alla pagina di gestione del Modem (https://192.168.1.1) e selezionando Impostazioni > Ethernet 2.5G > Utilizza LAN1 come WAN
Collegamento in Wi-Fi
• In modo MANUALE su tutti i dispositivi. Annota il nome della tua rete Wi-Fi (es. TIM-67893672) e della relativa password riportata sull’etichetta posizionata sul retro del modem. Dal tuo dispositivo seleziona la tua rete Wi-Fi e digita la password.

• In modo AUTOMATICO sui dispositivi dotati di funzionalità WPS (no iOS).
Attiva la funzionalità WPS sul tuo dispositivo. Se hai un PC seleziona il nome della tua rete Wi-Fi (es. TIM-67893672). Premi il pulsante WPS riportato sul lato sinistro del modem.
Il LED WPS lampeggia lentamente e la connessione sarà configurata in automatico in pochi minuti. A configurazione avvenuta il LED diventa verde fisso.
• Con QR Code, modalità utilizzabile solo su Smartphone e Tablet Android e iOS. Il QR Code della tua rete Wi-Fi è riportato sull’etichetta posizionata sul retro del modem. Installa sul tuo Smartphone o Tablet l’App TIM Modem.
Apri l’App, vai nel menu Altro, lancia la funzionalità “QR Code Wi-Fi” inquadra il QR code sul retro del modem e premi sul pulsante “Connetti” per completare la configurazione e avviare automaticamente la

Nella Home Page della pagina di Gestione del modem (https://192.168.1.1) sono visualizzati tutti dispositivi collegati al modem.
Per accedervi utilizza le seguenti credenziali:
Account: admin - Password: inserire la password che si trova sull'etichetta posta sul retro del modem.
ACCEDI AD INTERNET
Verifica che il LED del modem sia acceso di colore verde (fisso o lampeggiante). Apri il tuo browser (Edge, Internet Explorer, Firefox, Chrome, Safari, ecc.). Scrivi nella barra di navigazione del browser l’indirizzo desiderato.
PULSANTI E LED DELMODEM
| LED | DESCRIZIONE | |
|---|---|---|
| LAN | Verde fisso Verde lampeggiante Spento |
Almeno un dispositivo correttamente connesso ad una porta Ethernet. Almeno un dispositivo correttamente connesso ad una porta Ethernet e traffico in corso. Nessun dispositivo connesso alle porte Ethernet. |
| Wi-Fi | Verde fisso Verde lampeggiante Spento |
Almeno un'interfaccia Wi-Fi è attiva. Almeno un'interfaccia Wi-Fi è attiva e traffico in corso. Nessuna interfaccia Wi-Fi attiva. |
| WPS | Verde fisso Verde lampeggiante (lento) Verde lampeggiante (veloce) Spento |
Dispositivo Wi-Fi associato correttamente tramite WPS. Associazione del dispositivo Wi-Fi in corso tramite WPS. Associazione del dispositivo Wi-Fi non andata a buon fine. Nessuna associazione in corso. |
| Voce | Verde fisso Verde lampeggiante (lento) Verde lampeggiante (veloce) Rosso fisso Spento |
Servizio VoIP attivo. Registrazione del servizio VoIP in corso. Servizio VoIP attivo e traffico voce in corso. Servizio VoIP non registrato in rete. Servizio VoIP non configurato sul modem. |
| Mobile | Verde fisso Verde lampeggiante (lento) Verde lampeggiante (veloce) Spento |
La chiavetta 4G è collegata alla rete dati. La chiaveta 4G è collegata alla rete dati ma non si stanno trasmettendo dati. La chiavetta 4G si sta collegando alla rete dati. La chiavetta 4G non è in uso / installata. |
| Service | Verde fisso Verde lampeggiante Spento |
Il modem è stato configurato da TIM. Attività di telegestione in corso. Modem non ancora configurato da TIM. |
| Power | Verde fisso Verde lampeggiante Rosso fisso Spento |
Il modem è acceso. Il servizio VoIP (se presente) è attivo e almeno una interfaccia Wi-Fi è attiva Avvio modem in corso. Il modem è acceso. Uno o più servizi (vedere sopra: VoIP/Wi-Fi) non è attivo. Modem spento. |
| Linea | Verde fisso Verde lampeggiante Rosso lampeggiante Spento |
Connessione sulla WAN Ethernet o Fibra attiva. Link Fibra in negoziazione. Errore sulla linea Fibra. Connessione sulla WAN Ethernet o Fibra non attiva. |
| Web | Verde fisso Verde lampeggiante (lento) Verde lampeggiante (veloce) Spento |
Connessione Internet attiva. Connessione Internet attiva e traffico in corso. Connessione ad Internet in corso. Connessione ad Internet non attiva. |
| PULSANTE | FUNZIONE |
|---|---|
| Reset | Premere per più di 5 secondi per cancellare tutte le configurazioni ed effettuare il ripristino delle impostazioni di fabbrica. |
| Power | Accendi/spegni il Modem. |
| Wi-Fi | Attiva e disattiva il Wi-Fi. • Quando il Wi-Fi è spento, premere il pulsante per almeno 2 secondi e rilasciarlo per accendere il Wi-Fi. • Quando il Wi-Fi è acceso, premere il pulsante per almeno 2 secondi e rilasciarlo per spegnere il Wi-Fi. |
| WPS | Quando il Wi-Fi è acceso, premere il pulsante WPS per almeno 1 secondo e rilasciarlo per avviare la procedura WPS. |
PER LA CASA
http://tim.it
http://www.tim.it/assistenza/assistenza-tecnica
Servizio Clienti 187 (Clienti Residenziali)
APP MYTIM E TIM MODEM DA SMARTPHONE, TABLET E TV
L’assistenza commerciale e tecnica sempre gratis sul tuo iPhone, iPod Touch, iPad, qualsiasi Tablet o Smartphone Android con l’applicazione MYTIM e TIM MODEM! Scaricando l’applicazione con un semplice tocco potrai accedere ad un mondo di informazioni e servizi utili per la tua linea telefonica di casa!



PER PROFESSIONISTI E AZIENDE
https://timbusiness.it
https://timbusiness.tim.it/assistenza/supporto-tecnico
Servizio Clienti 191 (Clienti Business)
AVVERTENZE
• Per una connessione alla reteWi-Fi protetta e sicura, cambia periodicamente la password nelle pagine di configurazione del modem e successivamente su tutti i terminaliWi-Fi connessi; per accedere alla pagina di configurazione del modem segui le indicazioni di pagina 7.
• Il funzionamento di impianti di allarme con combinatore linea fissa, di telecontrollo, di telesoccorso e/o di centralini collegati alla rete telefonica fissa non è garantito.
• Se si intende effettuare dei test di velocità della linea FIBRA, collegare sempre il PC al modem con un cavo Ethernet: le connessioni senza fili potrebbero inficiare il test di velocità. È importante disporre di un PC di ultima generazione in grado dimisurare la banda
senza limitazioni.
• Le prestazioniWi-Fi del modem possono essere condizionate:
- dalle prestazioni Wi-Fi dei singoli dispositivi;
- dalla conformazione architettonica dell’abitazione (ad es. muri spessi);
- dalla presenza di altre retiWi-Fi adiacenti
o apparecchiature di altro genere (ad es. sistema di videosorveglianza senza fili o sensori antifurto a microonde);
- dall’eccessiva distanza dei dispositivi connessi dal modem: si suggerisce ove possibile di collocare il modem in una posizione centrale della casa, evitando il posizionamento in nicchie o armadi specie se in metallo;
- nel sito tim.it, nella sezione prodotti, puoi trovare dispositivi che consentono di estendere la copertura della reteWi-Fi del tuo modem all’interno della casa in modo semplice e veloce.

Visita il sito tim.it
Sede Legale: Telecom ltalia - Via G. Negri, 1
20123 Milano. Direzione Generale e Sede Secondaria:
Via Di Val Cannuta 182 00166 Roma.